今天来看两个特殊的指令,WFI(Wait For Interrupt)和WFE(Wait For Event)。这两条指令的语法非常简单,不需要带任何参数。如果大家读过前面文章,肯定对中断
2023-06-07 17:32
今天来看两个特殊的指令,WFI(Wait For Interrupt)和WFE(Wait For Event)。
2023-06-07 17:32
先看WFI,首先,我们研究一下ARM处理器进入低功耗状态的机制。
2023-06-28 12:35
今天来看两个特殊的指令,WFI(Wait For Interrupt)和WFE(Wait For Event)。这两条指令的语法非常简单,不需要带任何参数。
2023-05-29 17:47
Microchip WFI32-IoT开发板助您跃然云端。该开发板经过预编程和配置,用于演示与AWS Cloud IoT Core的连接。
2022-03-31 11:09
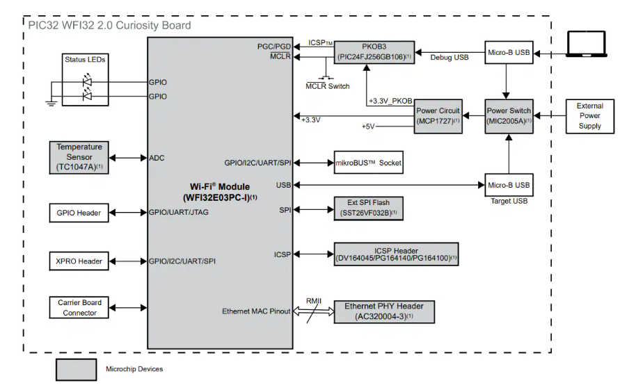
Microchip Technology PIC32 WFI32 2.0 Curiosity板 (EV67T15A) 用于评估和演示PIC32MZ2051W104132片上系统 (SoC
2025-09-30 11:48
Microchip Technology EV68D28A开发工具是一款WFI32E04高引脚数 (HPC) Curiosity板,用于评估PIC32MZ-W1和WFI32 Wi-Fi MCU系列
2025-09-29 14:21
Microchip Technology WFI32E04UE Wi-Fi^®^ MCU模块是设计用于工业应用的高性能解决方案。Microchip Technology WFI32E04UE具有
2025-09-29 15:06
Microchip Technology WFI32E03 Wi-Fi^®^ MCU模块基于PIC32MZ2051-W1 SoC而打造。PIC32MZ2051-W1是一款稳健的Wi-Fi MCU
2025-09-30 11:34
接下来我们就详细的看一下这三者有何区别。 1、睡眠(Sleep)模式 ● 进入睡眠模式 进入睡眠模式有两种指令:WFI(等待中断)和WFE(等待事件)。根据Cortex-M内核的SCR(系统控制
2023-07-30 11:14