16K Byte flash:2的14次方是16384共有14位,即3FFF,11 1111 1111 1111寻址空间,0000H-3FFFHByte 指每个地址存放一个字节,即8bit的数据。
2021-12-01 21:06
电子发烧友网站提供《ATARI 2600 8K/16K/32K Bankswitch墨盒开源分享.zip》资料免费下载
2022-07-07 10:25
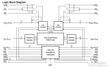
CY7C026 是CYPRESS公司生产的16K×16高速双口静态RAM,存取速度小于25ns。它具有真正的双端口,可以同时进行数据存取,两个端口具有独立的控制信号线、地址线和数据线,另外通
2010-07-13 11:47
8F3216是一款16K字节FLASH触控按键型8位MCU,内置一个1T流水线型的8051CPU、1KBXRAM、256B IRAM、16KB可编程FLASH、128BEEPROM。它包含最多26个
2022-02-25 09:13
R1EX24016ASAS0I/R1EX24016ATAS0I 数据表 (Two-wire serial interface / 16k EEPROM (2-kword x 8-bit) )
2023-03-30 20:03
R1EX24016ASAS0I/R1EX24016ATAS0I 数据表 (Two-wire serial interface / 16k EEPROM (2-kword x 8-bit) )
2023-07-13 19:34
True dual-ported memory cells which allow simultaneous access of the same memory location
2017-09-14 16:07
/ 8k EEPROM (1024-word x 8-bit) / 16k EEPROM (2048-word x 8-bit) )
2023-04-13 18:44
/ 8k EEPROM (1024-word x 8-bit) / 16k EEPROM (2048-word x 8-bit) )
2023-07-13 19:37
24c02/04/08/16/32/64是电可擦除PROM,分别采56/512/1024/2048/4096/8192×8-b的组织结构以及两线串行接压可允许低至18V,待机电流和工作电流分别为
2021-04-17 11:29