`` 本帖最后由 eehome 于 2013-1-5 10:02 编辑 电子电路制作大全``
2012-12-04 23:50
电子电路制作大全内容有: 第1卷 家用与民用电路.pdf第2卷 通用模拟电路.pdf第3卷 通用数字电路.pdf第4卷
2009-01-21 17:06
无线电电子电路制作
2011-01-18 16:13
2015-07-30 13:49
电子发烧友网站提供《使用电子电路制作脉冲发生器.zip》资料免费下载
2022-07-12 09:46
2012-07-09 22:28
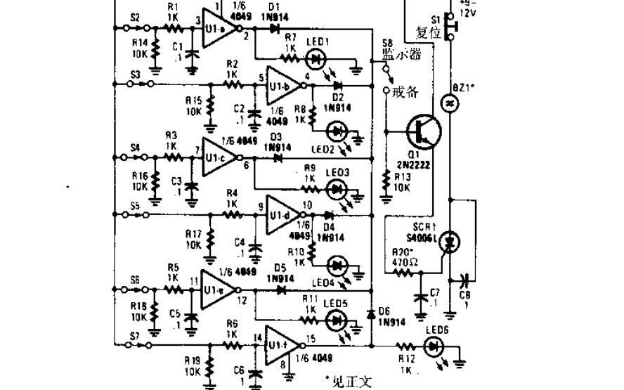
本文档详细介绍的是电子电路制作集锦资料合集免费下载主要内容包括了:1.报警和保安电路,2.放大器电路,3.模数转换器电路
2019-02-27 08:00
]微型收音机[无线发射][图文]调幅无线话筒[无线接收][组图]简易收音机的制作[无线发射][图文]电子管制作的发射机[无线接收]电调谐调频收音机电路[无线发射][组图]无线麦克风
2010-05-27 10:20
本文档的主要内容详细介绍的是电子电路制作集锦资料合集免费下载包括了:1.报警和保安电路,2.放大器电路,3.模数转换器电路
2019-06-13 08:00
本资料共计6卷,包括:1 家用与民用电路2 通用模拟电路3 通用数字电路4 测量与传感电路5 通信电路6 特殊应用
2015-10-14 15:03